中电鑫龙发布2025年半年度报告319策略,公司上半年实现营业收入9.61亿元,同比增长5.23%;归属于上市公司股东的净利润为1855.57万元,同比扭亏。
举报 第一财经广告合作,请点击这里此内容为第一财经原创,著作权归第一财经所有。未经第一财经书面授权,不得以任何方式加以使用,包括转载、摘编、复制或建立镜像。第一财经保留追究侵权者法律责任的权利。如需获得授权请联系第一财经版权部:banquan@yicai.com 相关阅读
部分中药股上半年净利润同比翻倍增长部分中药股上半年净利润同比翻倍增长
0 08-01 22:25
吉大正元今日跌7.6719策略,3家机构专用席位净买入9341.64万元吉大正元今日跌7.67%,3家机构专用席位净买入9341.64万元
0 06-27 17:06
协鑫能科今日跌停 三机构专用席位净卖出7731.60万元协鑫能科今日跌停 三机构专用席位净卖出7731.60万元
0 06-20 16:29
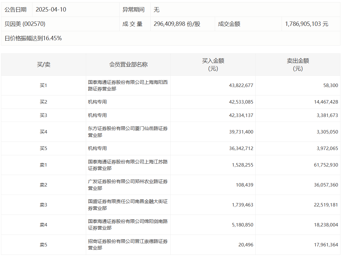
贝因美今日涨停 三机构专用席位净买入9938.88万元贝因美今日涨停 三机构专用席位净买入9938.88万元
0 04-10 16:33
东山精密今日跌停 三机构专用席位净卖出2.24亿元319策略东山精密今日跌停 三机构专用席位净卖出2.24亿元
0 04-03 16:39 一财最热 点击关闭鸿岳资本配资提示:文章来自网络,不代表本站观点。